Sichere Befestigung. Die Verpackung von Sechskantschrauben sorgt für Ordnung und verhindert Beschädigungen. Diese Verpackungsboxen verfügen über eine weiche Auskleidung mit passenden Schlitzen. Die Schrauben sitzen Kopf an Kopf darin, so dass jede Sechskantschraube an Ort und Stelle bleibt. Dadurch können sie schnell entnommen und platziert werden und Kratzer beim Versand werden vermieden. Für den Massentransport werden Sechskantschrauben häufig zu 500 Stück pro Beutel verpackt. Diese Säcke werden dann in Innenkartons und verstärkten Holzkisten verpackt, um die Ladung stabil zu halten. Für kritische Branchen können hochwertige Verpackungsoptionen strenge Militärstandards erfüllen. Dazu können versiegelte, fettdichte und wasserdichte Beutel gehören, die die Schrauben während der Lagerung und des Versands vor Korrosion schützen.
Die Note auf einer Sechskantschraube zeigt ihre Stärke. Zur leichteren Identifizierung befinden sich diese Güteklassenmarkierungen auf den Schraubenköpfen. Zu den gängigen ISO-Klassen gehören 4,6, 8,8, 10,9 und 12,9. Die Klasse 8,8 ist eine gängige mittelfeste Schraube, während 10,9 und 12,9 hochfest sind und in anspruchsvollen Bereichen wie Autos und Baugewerbe verwendet werden. Auch ASTM-Standards wie A307 und A325 definieren die Schraubenleistung. Die Auswahl der richtigen Sechskantschraube für eine sichere Befestigung ist ausschlaggebend für die Sicherheit, da sie gewährleistet, dass die Schraube der Last standhält, ohne zu versagen.
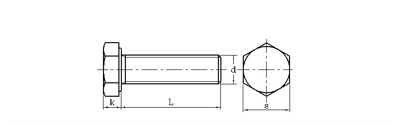
| mm | |||||||
| d | S | k | d | Faden | |||
| max | min | max | min | max | min | ||
| M3 | 5.32 | 5.5 | 1.87 | 2.12 | 2.87 | 2.98 | 0.5 |
| M4 | 6.78 | 7 | 2.67 | 2.92 | 3.83 | 3.98 | 0.7 |
| M5 | 7.78 | 8 | 3.35 | 3.65 | 4.82 | 4.97 | 0.8 |
| M6 | 9.78 | 10 | 3.85 | 4.14 | 5.79 | 5.97 | 1 |
| M8 | 12.73 | 13 | 5.15 | 5.45 | 7.76 | 7.97 | 1.25 |
| M10 | 15.73 | 16 | 6.22 | 6.58 | 9.73 | 9.96 | 1.5 |
| M12 | 17.73 | 18 | 7.32 | 7.68 | 11.7 | 11.96 | 1.75 |
| M14 | 20.67 | 21 | 8.62 | 8.98 | 13.68 | 13.96 | 2 |
| M16 | 23.67 | 24 | 9.82 | 10.18 | 15.68 | 15.96 | 2 |
| M18 | 26.67 | 27 | 11.28 | 11.7 | 17.62 | 17.95 | 2.5 |
| M20 | 29.67 | 30 | 12.28 | 12.71 | 19.62 | 19.95 | 2.5 |
Können Sie den Materialaufbau und die Korrosionsschutzoptionen für Ihre Secure Fastening-Sechskantschrauben erläutern?
Wir produzieren unsere Sechskantschrauben aus verschiedenen Materialien wie kohlenstoffarmem Stahl, stärkerem legiertem Stahl und Edelstahl (A2-304 und A4-316). Zum Schutz vor Rost bieten wir Beschichtungen wie galvanisch verzinktes Zink, Feuerverzinkung und Dacromet an. Die Wahl der richtigen Beschichtung ist ausschlaggebend dafür, wie lange die Schraube hält, insbesondere an rauen Orten wie auf Baustellen oder in der Nähe des Meeres.
